Nové produkty
HYDRAULICKÝ ZDVIHACÍ TŘETÍ BOD - FENDT 90/45MIN.640 TYPE (1) Φ 22/20
Aplikace pro traktory:
Typ traktoru:
FENDT
Model traktoru:
514 C
Obecný popis:
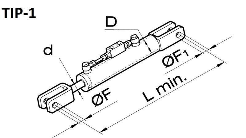
Hydraulický zdvihací třetí bod (ang. top side link nebo side third point, něm. seitliche hubstrebenverstellung) je v podstatě standardní dvoučinný hydraulický válec s svařovanými spojeními pro montáž na hydraulické ramena traktoru. Slouží pro individuální nastavení výšky ramen hydraulického tříbodového systému. Může také sloužit pro dodatečné zpevnění ramen nebo zvýšení nosnosti.
Všechny hydraulické zdvihací třetí body jsou také vybaveny blokovacím ventilem, který slouží pro bezpečnost (v případě poškození hydraulické hadice zůstává válec třetího bodu ve stejné poloze, a tím i připojení traktoru). Blokovací ventil také zajišťuje, že hadice nejsou pod tlakem a tím nezatěžují hydraulický ventil na traktoru během jízdy vlivem vibrací.





